Станки для обработки резьбы
Резьбообрабатывающие станки предназначены для формообразования на заготовках винтовых поверхностей, которые широко используют в машиностроении в неподвижных резьбовых соединениях, винтовых и червячных передачах, а также в большинстве режущих инструментов, применяемых при обработке винтовых поверхностей.
Резьбы (винтовые поверхности) характеризуются в продольном направлении винтовой линией и в поперечном сечении, проходящем через ось тела вращения – профилем. Профиль может быть треугольным, прямоугольным, трапецеидальным, полукруглым и т. д.
Для нарезания винтовых поверхностей в большинстве случаев используют режущие и абразивные инструменты, форма режущей кромки или контура которых совпадает с профилем нарезаемой резьбы. Поэтому основным методом образования профиля винтовых поверхностей является метод копирования, и этот метод осуществляется резьбовыми резцами (рис. 3.82, а), метчиками (рис. 3.82, б), плашками (рис. 3.82, в), резьбовыми гребенками (рис. 3.82, г), резьбонарезными головками, дисковыми резьбовыми фрезами (рис. 3.82, д), многониточными гребенчатыми фрезами (рис. 3.82, е), дисковыми (рис. 3.82, ж), и многониточными (рис. 3.82, з) шлифовальными кругами.
Для образования профиля у цилиндрических и глобоидных червяков при нарезании их чашечным обкатным резцом используют метод обката. В продольном направлении форма винтовых поверхностей образуется методом следа или касания в зависимости от применяемого инструмента.

Рис. 3.82. Формообразование винтовых поверхностей на заготовках различными
режущими инструментами: а – резьбовым резцом; б – метчиком; в — плашкой;
г – резьбовой гребенкой; д – дисковой резьбовой фрезой; е – многониточной
гребенчатой фрезой; ж – дисковым шлифовальным кругом; з – многониточным
шлифовальным кругом
В связи с тем, что наиболее распространенным методом образования профиля резьбы является метод копирования, не требующий движения формообразования, кинематическая структура большинства резьбообрабатывающих станков состоит только из кинематических групп, создающих движения для образования винтовой линии. При образовании винтовой линии методом следа (резцом, метчиком, плашкой, резьбовой гребенкой) требуется одно сложное винтовое движение Фv (В1В2), а методом касания (резьбонарезной головкой, фрезой, шлифовальным кругом) – два движения: одно простое ФV (В1) – вращение инструмента, и второе сложное винтовое Фs(В2П3). Таким образом, кинематическая структура резьбообрабатывающих станков в первом случае состоит из одной формообразующей группы, а во втором – из двух формообразующих групп.
В индивидуальном производстве, например, ремонтном или экспериментальном нарезание резьбы осуществляют резьбовыми резцами, метчиками и плашками на универсальных токарно-винторезных станках. При нарезании резцами используется частная винторезная структура этих станков, рассмотренная в разделе 2 на примере понятия о кинематической группе и кинематической структуре станка, а также вданном разделе при анализе станка модели 16К20. При нарезании резьбы метчиками и плашками нет необходимости в использовании винторезной цепи (внутренней связи группы Фs (В1В2)). В этом случае внутренняя связь из-за особой конструкции инструмента осуществляется связью винтовой кинематической пары инструмент – заготовка. Настройка на шаг нарезаемой резьбы здесь отпадает, так как на метчике и плашке режущие кромки расположены по винтовой линии с шагом, равным шагу нарезаемой резьбы. Это обстоятельство обеспечивает также возможность нарезания резьбы при выполнении слесарных работ. В серийном и массовом производстве для нарезания резьбы используют резьбофрезерные и резьбошлифовальные станки, обеспечивающие более высокую производительность, чем токарно-винторезные станки.
Наиболее сложными структурами резьбообрабатывающих станков являются структуры с двумя сложными группами формообразования. Это относится к станкам, нарезающим резьбу червячной резьбовой фрезой с профилем зуба, шагом и длиной, соответствующими профилю, шагу и длине нарезаемой резьбы, а также к станкам, нарезающим многозаходные цилиндрические червяки обкатным резцом. Группа обката (скорости резания) Фv (В1В2) воспроизводит профиль резьбы, а группа подачи Фs (В3П4), образующая винтовое движение, — форму резьбы по длине. Обе группы имеют общий исполнительный орган – шпиндель заготовки, а создаваемые ими сложные движения осуществляются одновременно. Поэтому внутренние связи обеих групп соединены между собой планетарным дифференциалом.
При нарезании конических резьб резьбовым резцом, дисковой фрезой или дисковым шлифовальным кругом траектория винтового движения усложняется, так как вместо цилиндрической винтовой линии необходимо воспроизвести коническую винтовую линию. В соответствии с эти усложняется кинематическая группа, создающая в станке движение с такой траекторией. Такая кинематическая группа Фv (В1П2П3) включает не одну, а две точно настраиваемые внутренние связи.
§
Классификация станков — автоматов и полуавтоматов
Токарные автоматы и полуавтоматы
Автоматом называют станок, который многократно производит рабочие и вспомогательные (холостые) движения узлов по циклу обработки детали.

Рис. 3.89. Детали, обрабатываемые на автоматах и полуавтоматах
Полуавтоматом называют станок, работающий по автоматическому циклу, но часть вспомогательных операций выполняют вручную. Токарные автоматы и полуавтоматы используют для обработки деталей сложной формы из прутка и штучных заготовок (рис. 3.89). Обработку деталей на этих станках производят несколькими инструментами, которые устанавливают на суппортах и в специальных приспособлениях. Высокой производительности токарных автоматов и полуавтоматов достигают благодаря автоматизации рабочих и холостых ходов или их совмещении.
Однако переналадка автоматов и полуавтоматов при переходе на обработку новой детали связана с затратой времени, поэтому их применяют в массовом, крупносерийном и при подборке однотипных деталей (групповая обработка) в серийном производствах.
Токарные автоматы и полуавтоматы подразделяют по назначению, числу и расположению шпинделей, виду заготовки, виду работы, принципу действия и способу управления рабочим циклом. По назначению их делят на универсальные, предназначенные для обработки разных деталей, и специальные — для обработки только определенной детали. По числу шпинделей автоматы и полуавтоматы подразделяют на одношпиндельные и многошпиндельные.
По расположению шпинделей автоматы и полуавтоматы подразделяют на горизонтальные и вертикальные. Иногда встречаются станки с наклонным расположением шпинделей. По виду заготовки станки делят на прутковые, бунтовые и патронные. Для прутковых автоматов заготовками являются прутки, для бунтовых — проволока, свернутая в бунт, для патронных — штучные заготовки. Вид заготовки определяет вращение шпинделя или инструмента. Наибольшее распространение имеют токарные автоматы и полуавтоматы с вращающимся шпинделем. При обработке штучных заготовок автоматы оснащаются магазинами или загрузочными устройствами с автооператорами. Несимметричные и громоздкие детали, а также детали из проволоки, свернутой в бунт, обрабатывают вращающимся инструментом.
По виду работы автоматы и полуавтоматы подразделяют на фасонно-отрезные (движение подачи фасонного или отрезного резца происходит в поперечном направлении к оси изделия), продольно-фасонные (движение подачи в продольном и поперечном направлениях), револьверные (движение подачи револьверной головки в продольном направлении), многорезцовые и копировальные (рис. 3.90).
По принципу действия многошпиндельные станки различают параллельного, последовательного, параллельно-последовательного и непрерывного действия. При параллельной обработке одинаковые переходы выполняют одновременно на всех позициях до получения одновременно всех деталей в готовом виде. При последовательной обработке каждую деталь на шпинделе, переходя из одной позиции в другую, подвергают различным операциям различными инструментами. При параллельно-последовательной обработке в одном автомате организуют два и более потока деталей. Непрерывное действие характеризуется загрузкой, обработкой и съемом детали при непрерывном вращении шпинделя.
По способу управления рабочим циклом автоматы и полуавтоматы подразделяют на три группы. К первой группе относят автоматы, у которых имеется один распределительный вал, равномерно вращающийся в течение цикла обработки. Рабочие и холостые хода выполняются при неизменной скорости вращения распределительного вала. Ко второй группе относят автоматы с одним распределительным валом, имеющим при обработке две скорости вращения: медленную на рабочих ходах и ускоренную на холостых ходах. Такой способ управления применяют в многошпиндельных автоматах и полуавтоматах. К третьей группе относят автоматы, имеющие распределительный и вспомогательный валы. Распределительный вал вращается медленно и управляет рабочими и холостыми ходами суппортов, вспомогательный вал вращается быстро и управляет холостыми ходами остальных механизмов.остальных механизмов.


Рис.3.90. Классификация автоматов и полуавтоматов
Время рабочего цикла tц слагается из времени рабочих, т. е. затрачиваемых на обработку детали tри холостых tхходов. Таким образом,
tц = tр tх.
Цикловая производительность автомата
Q = 1/tц = 1/(tр tx) = Q0 tx 1),
где Qo = 1/tр — идеальная производительность автомата непрерывного дей-. ствия, у которого холостые хода со- вмещены с рабочими.
Зависимости цикловой производительности от идеальной для трех групп автоматов позволяют выявить рациональные области применения каждой группы (рис. 3.91). Производительность автоматов первой группы возрастает прямо пропорционально, а производительность автоматов второй и третьей групп — с убывающей интенсивностью по мере увеличения идеальной производительности Qo.
При 1/tр>Q03 рекомендуется использовать автоматы первой группы, при Q01<1/tр<Q03 — автоматы третьей группы, а при 1/tр<Q01 – автоматы второй группы. Для ориентировочных расчетов можно принять Q01 = 1 шт/мин; Q03 = 10 шт/мин, т. е. для мелких и легких работ следует применять автоматы первой группы, для мелких и средних работ, требующих сложной последовательности обработки, автоматы третьей группы,для средних и тяжелых работ – автоматы и полуавтоматы второй группы.
Действительная штучная произ- Рис. 3.91. Цикловая производительность водительность меньше цикловой из-автоматов трех групп за дополнительного вспомогательного
времени на обслуживание автомата:
Qшт= Qkx,
где kx< 1 — коэффициент, учитывающий долю вспомогательного времени от времени цикла обработки.
В [2.8] рассмотрены современные базовые прутковые автоматы: токарно-револьверный модели 1Е140 и горизонтальный шестишпиндельный последовательного действия модели 1Б240-6.
Одним из путей повышения производительности станков токарной группы является применение многорезцовой обработки. В основу такой обработки положен принцип совмещения нескольких рабочих переходов, осуществляемых различными инструментами в один переход с использованием многорезцовых наладок (рис. 3.88). В этом случае каждый резец обрабатывает свой участок наружной поверхности заготовки. Этот принцип используется при конструировании многорезцовых токарных полуавтоматов. На станках этого типа обрабатывают многоступенчатые детали с канавками, фасками и галтелями. В качестве заготовок используют поковки, отливки и прокат. Обработку осуществляют, как правило, в центрах.
Многорезцовый токарный полуавтомат модели 1Н713. Предназначен для обработки многоступенчатых валов, втулок, фланцев, колец в патроне или в центрах
при помощи многорезцовой наладки.
Техническая характеристика. Наибольший диаметр обрабатываеРис. 3.92. Многорезцовая наладка мой заготовки: над станиной 400 мм; над суппортом 250 мм. Наибольшая длина обрабатываемой заготовки 710 мм.
Кинематическая структура станка (рис. 3. 93) содержит группу скорости резания Фv(В1) и группы продольной Фs1(П2) и поперечной Фs2(П3) подач.
Кинематическая группа скорости резания Фv(В1) Ее внутренняя связь:
передняя бабка → шпиндель (В1).
Внешняя связь:
М1 → 115/270 → iv = a/b → 26/52 или 96/60 → 35/70 → шпиндель (В1).
Группа настраивается только на один параметр – скорость гитарой сменных колес iv. При выключении шпинделя в конце обработки осуществляется торможение электромагнитной тормозной муфтой ЭТМ-116-1А.
РП: для гитары iv:
пМ1 мин-1 → п мин-1 шпинделя (В1).
УКЦ:

ФН:
iv1 = n/126; iv2 = n/404.
Набор сменных зубчатых колес обеспечивает 14 ступеней частот вращения шпинделя в диапазоне 63 — 1250 мин1.
Кинематические группы продольной Фs1(П2) и поперчной Фs2(П3) подач конструктивно одинаковы и оснащены унифицированными коробками подач. Внутренняя связь:
направляющие (прод. или попер.) → соответствующий суппорт (П).
Внешняя связь (муфта ЭМ1 включена, а муфта ЭМ2 выключена):
М2 → is = (a1/b1)(c1/d1) → 1/44 → (Р = 8).
Группа настраивается на скорость гитарой is; на путь и исходное положение упорами путевой системы управления.
Для обеих групп РП имеют вид:
пМ2 мин-1 → s мм/мин (П).
УКЦ (муфта ЭМ1 включена):
s = (пМ2 = 1420) (is = (a1/b1)(c1/d1)) 1/44 (Р = 8).
ФН:

is = s/258.
Набор сменных зубчатых колес для обеих групп подач обеспечивает 13 ступеней продольных и поперечных подач в диапазоне 25 — 400 мм/мин.
Рис. 3.93. Кинематическая схема многорезцового полуавтомата 1Н713
Ускоренное перемещение суппортов осуществляется при включенной муфте ЭМ2 (ЭМ1 выключена) от электродвигателя М2 через зубчатые колеса с винтовыми зубьями 13/42 и ходовой винт с шагом Р = 8 мм. Скорость быстрых перемещений суппортов 3500 мм/мин.
Смещение задней бабки в поперечном направлении при обточке конусов и перемещение пиноли при зажиме детали осуществляют от пневмоцилиндров. Станок оснащен развитой путевой системой управления. Автоматическим циклом работы полуавтомата управляет командоаппарат, содержащий путевые микропереключатели, на которые воздействуют переставные упоры, установленные на суппортах.
§
В п. 3.2.2. рассмотрена кинематическая структура координатно-расточного станка с ЧПУ первого поколения модели 2Д450АМФ2. Рассмотрим еще два широко распространенных станка этого поколения.
Патронно-центровой станок модели 16К20Ф3.Предназначен для токарной обработки наружных и внутренних поверхностей деталей типа тел вращения со ступенчатым и криволинейным профилями за один или несколько рабочих ходов в замкнутом полуавтоматическом цикле. В зависимости от возможностей системы ЧПУ на станке можно нарезать различные резьбы. Станок имеет традиционную для токарных станков компоновку и максимально возможную унификацию узлов с токарно-винторезным станком модели 16К20, на базе которого выпускается.
Техническая характеристика. Наибольший диаметр обрабатываемой детали над станиной 400 мм; над суппортом 220 мм; диаметр прутка, проходящего через отверстие шпинделя 50 мм. Число инструментов 6. Число частот вращения шпинделя 12 (из них 9 по программе); пределы частот вращения шпинделя 35 – 1600 мин-1. Число подач – бесступенчатое регулирование; пределы рабочих подач: продольных 3 – 700 мм/мин, поперечных 3 – 500 мм/мин. Скорость быстрых перемещений: продольных 4800 мм/мин, поперечных 2400 мм/мин; дискретность перемещений: продольных 0,01 мм, поперечных 0,005 мм.
Станок оснащен контурными устройствами ЧПУ. Модификации станка в зависимости от комплектации с устройством ЧПУ имеют разные индексы. Например, станок модели 16К20Ф3С1 работает с устройством «Контур 2ПТ», станок 16К20Ф3С2 – с устройством фирмы Alkatel, станок 16Е20Ф3С5 – с устройством Н22-1М. Устройство ЧПУ обеспечивает движение формообразования, изменение значений подач и частот вращения шпинделя, индексацию резцовой головки и в большинстве случаев нарезание резьбы по программе. Число управляемых координат равно двум, из них одновременно управляемых две.
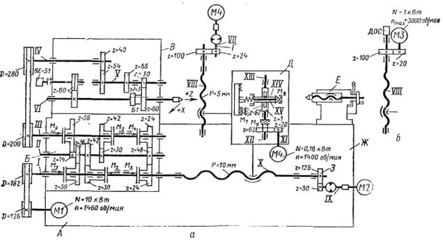
Кинематическая структура станка (рис. 3. 104) содержит традиционные для токарно-винторезных станков группы формообразования.
Внешняя связь группы Фv(В1) скорости резания (главное движение) имеет вид:
М1 → 126/182 → АКС → 200/280 → 40/54 →Б1 (30/60 или 65/43) → →шпиндель V1 (В1).
Автоматическая коробка скоростей (АКС) обеспечивает девять переключаемых в цикле частот вращения шпинделя вследствие включения электромагнитных муфт. Вал 11 имеет три значения частоты вращения при переключении муфт М1, М2, М3(соответственно передачи 36/36 или 30/42 или 24/48); вал 111 вращается уже с девятью различными частотами; при включении муфты М4 работает передача 48/24, муфты М5 – передача 30/42, муфты М6 – передача 14/56. Одновременное включение муфт М4 и М6 осуществляется торможение шпинделя. В шпиндельной бабке вручную переключается блок Б1, что обеспечивает получение двух диапазонов частот вращения шпинделя (35 – 560 и 100 – 1600 мин-1). Практически шпиндель имеет 12 частот вращения.
УКЦ для минимальной частоты вращения шпинделя


Рис. 3. 104. Кинематическая схема токарного станка с ЧПУ модели 16К20Ф3
В винторезной модификации станка устанавливают датчик (измерительный преобразователь ВЕ-51) резьбонарезания, связанный со шпинделем беззазорной зубчатой передачей 60/60.
Группы продольной подачи Фs1(П2) и поперечной подачи Фs2(П3) могут иметь два исполнения: с гидравлическим шаговым приводом (рис. 3.100, а) и с электродвигателем постоянного тока (рис. 3.104, б). В первом случае применяют электрогидравлические шаговые двигатели ШД5-Д1 с гидроусилителем Э32Г18-23 для продольной подачи и гидроусилителем Э32Г18-22 для поперечной подачи. Тяговые валы обеих групп: шариковый винт X продольной подачи и шариковый винт V111 поперечной подачи получают вращение через беззазорные передачи соответственно 30/125 и 24/100.
Минимальная продольная подача (цена импульса)
s прод min = (1/240) (30/125) 10 = 0,01 мм,
где 1/240 – минимальная доля оборота выходного вала гидроусилителя при шаге на выходном валу шагового двигателя 1,50.
Минимальная поперечная подача (цена импульса)
s поп min = (1/240) (24/100) 5 = 0.005 мм.
В случае применения двигателей постоянного тока на шариковые ходовые винты устанавливают измерительные преобразователи, выполняющие в системе управления функцию датчиков обратной связи.
Суппорт и каретка имеют традиционное устройство, но их размеры увеличены по высоте для повышения жесткости и возможности установки винта поперечной подачи.
Кинематика станка включает также вспомогательную группу Вс(В4) поворота шестипозиционного резцедержателя с горизонтальной осью вращения, оснащенный съемной инструментальной головкой. Внешняя связь группы имеет вид
М4 → 20/62 → 1/67 → поворотный резцедержатель (В4).
Управление поворотом резцедержателя осуществляется по программе посредством кулачковых муфт М7, М8, М9 и конечных выключателей.
Съемная инструментальная головка имеет шесть позиций. В нее можно установить шесть резцов – вставок или три инструментальных блока, которые настраивают на размер вне станка, в специальных оптических приспособлениях, Установку инструмента на определенный размер осуществляют регулировочными винтами в двух плоскостях.
Гидрооборудование станка состоит из гидростанции с контрольно-регулирующей аппаратурой, двух гидроусилителей крутящих моментов и магистральных трубопроводов.
Вертикально-фрезерный станок с ЧПУ модели 6Р13Ф3.Предназначен для выполнения фрезерования, сверления и зенкерования деталей в условиях единичного и серийного производства. Применение ЧПУ в приводах подач по трем независимым координатам позволяет обрабатывать на станке детали сложного профиля типа штампов, пресс-форм, кулачков концевыми, торцовыми, угловыми, сферическими и фасонными фрезами, сверлами, зенкерами. Станок унифицирован с вертикально-фрезерным станком модели 6М13, на базе которого он выпускается.
Техническая характеристика. Размеры рабочей поверхности стола 400×600 мм; число частот вращения шпинделя 18; пределы частот вращения шпинделя 40 – 2000 мин-1; число подач – бесступенчатое регулирование; пределы рабочих подач по осям X′, Y′, Z 3 – 1200 мм/мин, скорость быстрого перемещения по осям координат 2400 мм/мин. Число управляемых координат (всего/одновременно) 3/3. Дискретность отсчета равна 0,01 мм.
Кинематическая структура станка (рис. 3.105) содержит традиционные для вертикально-фрезерных станков кинематические группы скорости резания Фv(В1) и подач Фs1(П2), Фs2(П3), Фs3(П4).

Рис. 3. 105. Кинематическая схема вертикально-фрезерного
станка с ЧПУ модели 6Р13Ф3
Внешняя связь группы скорости резания Фv(В1):
М1 → 31/49 → Б1 → Б2 → Б3 → 39/39 → 48/48 → шпиндель (В1).
Группа настраивается на скорость переключением двух двойных блоков Б1 и Б2 и двойного блока Б3. Это обеспечивает 18 ступеней частот вращения шпинделя в пределах 40 – 2000 мин-1.
Уравнение кинематической цепи для минимальной круговой частоты вращения шпинделя

Внешняя связь группы Фs1(П2) вертикальной подачи (координата Z):
М2 → 25/25 → ТВ (винт-гайка качения) → ползун шпиндельной головки (П2).
Группа настраивается на скорость — изменением круговой частоты шагового электродвигателя; на путь, исходное положение и направление — программоносителем. Квадратом на валу X через коническую передачу 14/28 можно переместить ползун вручную.
Внешняя связь группы Фs2(П3) поперечной подачи (координата Y′):
М3 → беззазорный редуктор (27/45 → 26/52) →
→ ТВ (винт-гайка качения) → поперечные салазки (П3).
Группа настраивается на скорость – изменением круговой частоты шагового электродвигателя; на путь, исходное положение и направление — программоносителем. Квадратом на валу X11 через передачу 26/52 можно переместить поперечные салазки вручную.
Внешняя связь группы Фs3(П4) продольной подачи (координата X′):
М4 → беззазорный редуктор (25/34 → 24/35) →
→ ТВ (винт-гайка качения) → продольные салазки (П4).
Группа настраивается на скорость – изменением круговой частоты шагового электродвигателя; на путь, исходное положение и направление — программоносителем. Квадратом на валу XX1 можно переместить продольные салазки вручную.
Электродвигатель М1 – асинхронный. Электродвигатели М2, М3, М4 — шаговые типа ШД5-Д1 с гидроусилителем моментов Э32Г18-24.
Величины передач внешних связей групп Фs1, Фs2, Фs3 подобраны так, что при подаче на шаговые электродвигатели одного импульса исполнительные органы указанных групп переместятся на 0,01 мм.
Вспомогательная группа Вс(П5) обеспечивает установочные вертикальные перемещения консоли. Ее внешняя связь:
Гидромотор М5 → 27/54 → 39/65 → ТВ → консоль (П5).
Посредством квадрата на валу XX можно переместить консоль вручную.
Гидросистема (рис. 106) осуществляет перемещение исполнительных органов станка по соответствующим координатам, установочное вертикальное перемещение консоли, зажим ползуна шпиндельной головки, отжим инструмента.
Питание гидросистемы осуществляется от гидростанции 5. Масло по трубопроводам поступает в гидрораспределители гидравлических усилителей моментов 1ГУ, 2ГУ, 3ГУ.
Отжим инструмента осуществляется при включенном гидрораспределителе 1, расположенном на шпиндельной головке станка, гидроцилиндром 2, размещенном в ползуне. Зажим ползуна происходит при включении гидрораспределителя 3, управляющего гидроцилиндром 4, расположенном в шпиндельной головке. Зажим консоли осуществляется гидроцилиндром 6, управляемым гидрораспределителем 7; при обесточенном гидрораспределителе 7 консоль зажата. Установочное перемещение консоли происходит при одновременном включении гидрораспределителей 7 и 8, управляющих гидромотором ГМ.
Рис. 3.106. Принципиальная гидравлическая схема станка
§
Многооперационным станком (обрабатывающим центром) называется станок с ЧПУ, обеспечивающий совмещение многих технологических операций на сложных деталях с разных сторон без их перебазирования и с автоматической сменой инструмента. Они делятся на станки для обработки деталей типа корпусных и типа тел вращения. Станки для обработки деталей типа тел вращения характеризуются меньшим разнообразием и распространены в меньшей степени. Рассмотрим многооперационные станки для корпусных деталей. На них можно осуществлять все сверлильно-фрезерно-расточные операции. Производительность изготовления деталей на таких станках в 4 — 10 раз выше, чем на универсальных станка. Это происходит за счет существенного сокращения затрат вспомогательного и подготовительно-заключительного времени, интенсификации режимов резания, сокращения времени на контрольные операции и т.д. На этих станках вручную лишь устанавливают и закрепляют деталь. Для сокращения времени загрузки заготовок и съема готовых деталей используют устройства для автоматической смены приспособлений – спутники, маятниковые столы, поворотные столы, работающие поочередно.
При проектировании применяется агрегатирование узлов многооперационных станков.
Различают многооперационные станки вертикальной и горизонтальной компоновки. Вертикальные многооперационные станки, характеризующиеся вертикально расположенным шпинделем, предназначены для деталей, обрабатываемых с одной стороны. Их выполняют по типу: вертикального консольного или бесконсольного фрезерного станка; одностоечного или двухстоечного координатно-расточного станка; продольно-фрезерного станка.
Горизонтальные многооперационные станки предназначены для обработки деталей с двух – четырех сторон, а иногда и пяти сторон. Их выполняют по типу горизонтальных консольно-фрезерных горизонтально-расточных станков. Шпиндель в таких станках расположен горизонтально. Наиболее распространены станки, имеющие крестовый и поворотный столы, вертикально перемещающуюся шпиндельную бабку.
Точностные характеристики многооперационных станков должны обеспечивать выполнение как предварительных, так и финишных операций, поэтому их выпускают классов точности П и В.
Многооперационные станки оснащаются позиционными, контурными и универсальными системами ЧПУ. Минимальное число управляемых координат равно трем. Системы управления обеспечивают направление и величину рабочих перемещений, выдают команды на выполнение вспомогательных функций: автоматический поиск инструмента и его смену после обработки, установку шпинделя в определенное положение при смене инструмента, изменение режимов обработки, включение и отключение СОЖ в зону обработки, реверс шпинделя при выполнении резьбонарезных операций, фиксацию исполнительных звеньев после их позиционирования и т. д.
Вертикальный сверлильно-фрезерно-расточной полуавтомат модели 243ВМФ2. Педназначен для комплексной обработки деталей небольших и средних размеров при подходе инструмента с одной стороны. Класс точности станка В. Обеспечивает точность расстояний между осями обработанных отверстий 0,016 мм; точность диаметра отверстий 0,01 мм. Относится к станкам с ЧПУ второго поколения.
Техническая характеристика. Наибольший диаметр сверления 25 мм, наибольший диаметр растачивания 160 мм; размеры рабочей поверхности стола 320×560 мм; число инструментов в магазине 30; число частот вращения шпинделя 21; пределы частот вращения шпинделя 40 – 2500 мин-1; число ступеней подач 30; пределы подач по осям координат X′, Y′, Z 3,15 – 2500 мм/мин; скорость быстрого перемещения по управляемым осям 3000 мм/мин.
Станок оснащен устройством ЧПУ типа «Размер 2М». Точность позиционирования 0,02 мм. Число управляемых координат (всего/одновременно) 3/2.
Система ЧПУ позволяет ввести 35 коррекций по длине и 5 коррекций по радиусу.
Кинематическая структура станка (рис. 3.107) содержит традиционные для координатно-расточных станков группы скорости резания Фv(В1), вертикальной подачи шпинделя Фs1(П3), продольной подачи стола Фs2(П5), поперечной подачи салазок Фs3(П6), а такжевспомогательные группы Вс(В2), Вс(П4), Вс(В7), Вс(В8) обеспечивающие автоматизацию движений.

Рис. 3. 107. Кинематическая схема многооперационного вертикального
сверлильно-фрезерно-расточного полуавтомата с ЧПУ модели 243ВМФ2
Группа Фv(В1). Ее внутренняя связь:
подшипниковые опоры → шпиндель (В1).
Внешняя связь:
М1 → двухременной вариатор Вр → трехступенчатая коробка
скоростей → зубчатоременная передача 31/31 → шпиндель (В1).
Группа настраивается на скорость трехступенчатой коробкой скоростей и двухременным вариатором. При отклонении скорости (круговой частоты шпинделя) от заданной, тахогенератор ТГ на валу 111 включает электродвигатель М2, который через зубчатые передачи 17/49 и 25/49 и винт X111 смещает ось подвижных дисков вариатора, что изменяет его передаточное отношение. Вариатор обеспечивает регулирование круговой частоты в диапазоне 1 : 4.
Переключение скоростей осуществляется перемещением блока Б1 и муфты М1. При включении муфты М1от электромагнита Э1 постоянного тока получают верхний диапазон частот вращения шпинделя, так как движение с вала 111 на вал V передается через зубчатоременную передачу 30/30. Два нижних диапазона получают при переключении блока Б1 двумя электромагнитами (на схеме не показаны). Внутри каждого диапазона скорость изменяется вариатором.
Шпиндель станка 8 (рис.3. 108) размещен в гильзе 7 на высокоточных под-шипниках, Зажим инструмента происходит пакетом тарельчатых пружин 3, действующих на инструмент с помощью шомпола 1, соединенного с байонетным замком 2. Усилие пружин регулируется гайкой 4. Зуб планки 5, взаимодействуя с зуб- Рис. 3.108. Шпиндельчатым колесом 6, закрепленным на шомполе 1, станка препятствует случайному провороту байонета. крутящий момент от шпинделя к инструменту передается поводками, расположенными на торце шпинделя.
Вспомогательная группа Вс(В2) привода вращения шомпола (рис. 3. 107, а) предназначена для размыкания и замыкания байонетного замка шомпола с инструментом в крайнем верхнем положении гильзы, а также для вращения инструмента в случае несовпадения ведущих шпонок инструмента и шпинделя во время автоматической смены инструмента. Ее внешняя связь:
М3 → 1/30 → муфта М2 → шомпол (В2).
Двигатель М3 включается по команде микропереключателя, расположенного на инструментальном магазине, только в положении автооператора (рука для смены инструментов) под шпинделем.
Группа Фs1(П3) подач шпинделя и группа Вс(П4) установочного перемещения шпиндельной головки (координата Z) оснащены общим электродвигателем постоянного тока М4 типа МИ22ФТ. Внешняя связь группы Фs1:
М4 → 20/40 → 16/48 → 48/40 → 40/48 → ТВ XV11(винт — гайка качения) →
→ ползун перемещения гильзы шпинделя (П3).
Параметр скорость регулируется изменением частоты ротора электродвигателя. Для обеспечения самоторможения пары винт – гайка качения при отжиме инструмента служит тормоз, установленный на винте.
Внешняя связь группы Вс(П4):
М4 → 20/40→16/48→ шлицевой вал XV1 — втулка X1X → муфта М4 → 1/34→ ТВ (зубчато-реечная передача) → шпиндельная головка (П4).
Муфта М4 включается от механизма зажима головки. Муфта М5 является предохранительной. Гильза и шпиндельная головка перемещаются синхронно. При отключении муфты М4 шпиндельная головка останавливается, а шпиндель продолжает перемещаться. Шпиндельная головка и гильза уравновешены противовесами.
На валу XV11 установлен фотоэлектрический датчик D, который служит для отсчета перемещений гильзы и шпиндельной головки. Скорость быстрого перемещения гильзы шпинделя определяется из выражения

где 0,001 – величина перемещения за один управляющий импульс, мм.
Группы Фs2(П5) продольной подачи стола и Фs3(П6) поперечной подачи салазок выполнены одинаково и оснащены электродвигателями постоянного тока соответственно М5 и М6 типа МИ22ФТ. При выполнении сверлильно-расточных переходов и вспомогательных перемещений по программе эти группы выполняют функцию групп позиционирования.
Внешняя связь группы Фs2:
М5 → зубчато-ременная передача 23/49 → 35/56 → 27/47 →
червячно-реечная передача → продольный стол (П5).
Внешняя связь группы Фs3:
М6 → зубчато-ременная передача 23/49 → 36/61 → 17/47 →
червячно-реечная передача → поперечные салазки (П6).
Обе группы настраиваются на скорость, путь, исходное положение и направление по программе. Измерительные винты отсчетно-измерительных систем кинематически связаны с приводными червяками соответственно через колесо z=22 на валу XXX и z=30 на XX1V.
Рассмотрим принцип действия отсчетно-измерительной системы станка на примере отсчетной системы стола (рис.3. 107, б). Винт-якорь XXX111 индуктивного датчика ИД связан с перемещением исполнительного органа через червячно-реечную передачу, вал XXX, конические передачи 22/22, планетарный дифференциал, передачу 108/106. Возникающий при перемещении сигнал рассогласования воспринимается блоком управления БУ, дающим команды электродвигателю М7 типа РД-09. Двигатель, уменьшая сигнал рассогласования, доворачивает винт-якорь XXX111 через передачу 34/68, планетарный дифференциал и передачу 108/106. Вследствие такой обратной связи винт-якорь вращается синхронно движению исполнительного органа. Отсчет угла поворота винта-якоря производится круговым фотоэлектрическим датчиком ФД (импульсным измерительным преобразователем). Возникающий в фоторезисторах электрический сигнал преобразуется электронным устройством ЭУ в импульсы, воспринимаемые счетчиком импульсов СИ. Шаг импульсов соответствует 0,001 мм перемещения исполнительного органа (дискретность отсчета). Счетчикимпульсов формирует в числовом виде полную информацию о величине перемещения исполнительного органа и управляет электродвигателем М5 привода подач стола.
Зажим шпиндельной головки, стола, салазок и гильзы осуществляется автоматически по программе от асинхронных электродвигателей через ряд зубчатых передач.
Механизм автоматической смены инструмента состоит из инструментального магазина на 30 инструментов и автооператора с приводом. Механизм выполнен в виде отдельного узла, расположенного на стойке станка.
Цикл смены инструмента (рис. 3. 109):
— магазин подает инструмент в позицию загрузки-выгрузки (во время обработки);
— рука поворачивается, захватывает инструмент, выносит его из магазина и устанавливает в положение, когда оси шпинделя и инструмента параллельны;
— гильза и шпиндельная головка перемещаются в крайнее верхнее положение, контролируемое микропереключателями, шомпол отжимает инструмент, но он остается пока в байонетном зажиме;
— рука захватывает отработавший инструмент, в этот момент начинает вращаться шомпол (вращение шомпола рассмотрено выше), инструмент выпадает из замка и рука движением вниз извлекает инструмент из шпинделя;
— рука поворачивается на 1800 и вставляет очередной инструмент в шпиндель;
— рука совершает все движения в обратной последовательности, вставляя отработанный инструмент в свое гнездо.
Одновременно происходит зажим очередного инструмента в шпинде-
ле. Так как шомпол вращается, то зуб инструмента западает в байонет, а ведущие выступы шпинделя – в пазы инструмента. Инструмент фиксируется в шпинделе, а шомпол замыкает байонетный замок и останавливается. Время смены инструмента составляет около 5 секунд.
Магазин выполнен в виде барабана со втулками, в которые устанавливают инструмент. Втулки предохраняют хвостовики оправок от пыли и грязи. Оправки крепят в магазине с помощью пружин. С барабаном кинематически связаны три кодовых диска, лепестки которых проходят сквозь прорези бесконтактных конечных выключателей, закрепленных на корпусе. Выходные сигналы выключателей, закодированные в двоично-десятичном коде, обеспечивают выбор позиции барабана.
Вращение магазина (см. рис. 3. 107, в) осуществляется группой Вс(В7). Внешняя связь группы:
М8 → 1/34 → винт-вал XXXV11 → 51/34 → 2/30 →50/165 → вал XL,
на котором расположен магазин (В7).
Магазин за один оборот винта-вала поворачивается на один шаг, т. е. на 1/30 оборота.
Рис.3. 109. Схема работы автооператора
При получении команды на поиск инструмента начинает вращаться червячное колесо z = 24 с внутренней резьбой. При этом винт-вал XXXV11 перемещается вдоль своей оси влево или вправо в зависимости от направления вращения до тех пор, пока фиксатор 1 не выйдет из продольного паза кулачка К1. В этот момент торцовые выступы на червячном колесе входят в зацепление с выступами на кулачке К1 или диске 2 и винт-вал и соответственно магазин начинают вращаться. При вращении магазина бесконтактные выключатели посылают сигналы в систему ЧПУ. При совпадении полученного сигнала с заданным по программе система ЧПУ дает команду на реверс электродвигателя. В этом положении нужное гнездо магазина перебегает позицию загрузки-выгрузки. Винт-вал поворачивается в противоположную сторону до западания фиксатора 1 в паз кулачка К1. При этом винт-вал начнет перемещаться в осевом направлении до тех пор, пока не сработает микропереключатель, дающий команду на остановку электродвигателя.
Автооператор (рука) выполняет движения: поворот, осевое перемещение и опрокидывание. Эти движения выполняются группой Вс(В8), внешнняя связь которой имеет вид:
М9 → 1/60 → 20/30 → 30/157 → вал XL1V с кулачками К2, К3, К4.
На каждом кулачке дискового типа имеются замкнутые кривые, определяющие перемещение руки. От кулачка К2 с помощью толкателя через вал-рейку XLV, реечное колесо 28 и зубчатую передачу 59/36 рука поворачивается вокруг центральной оси L11.
От кулачка К3 через рейку и реечное колесо 27, вал XLV11, зубчатую передачу 67/46 получает вращение полый вал L, который посредством реечного колеса 46 перемещает рейку и соответственно руку с инструментом вдоль их оси. Кулачок К4 с помощью толкателя, рейки и реечного колеса 27 через вал XLV111 и зубчатую передачу 31/58 осуществляет поворот автооператора на 900.
§
Все многообразие устройств, относящихся к ПР можно разделить на три поколения (типа).
ПР 1-го поколения – роботы с обучением. Этот тип роботов обладает способностью запоминать программу по выполнению разнообразных операций, обладает автономными свойствами и имеет ограниченные возможности по восприятию рабочей среды. Движения осуществляются по жесткой программе.
ПР 2-го поколения (адаптивные роботы) – оснащены датчиками обратной связи, воспринимающие информацию от окружающей среды, Такие роботы имеют основную программу и подпрограммы, которые выбираются в зависимости от информации, полученной от внешней среды. Следовательно, эти роботы, имеющие ЭВМ или обслуживаемые ЭВМ, обладают «зрением» и «осязанием» и способны ориентироваться в окружающей обстановке.
ПР 3-го поколения (интеллектуальные роботы) наделены искусственным интеллектом. Для их работы достаточно задать конечную цель работы, т.е. алгоритм поиска. Такие роботы могут воспринимать и логически оценивать окружающую обстановку и определять движения, необходимые для достижения заданной цели работы. Для управления интеллектуальными роботами требуются средства вычислительной техники.
ПР 1-го типа с цикловыми и числовыми системами программного управления применяют для автоматизации загрузки-выгрузки обрабатываемых деталей, а также для выполнения транспортных и вспомогательных операций на металлорежущих станках с программным управлением. Обычно эти ПР называют роботами-манипуляторами (РМ). Они могут быть как автономными машинами-автоматами (рис. 3.110), так и встроенными в станок или другую технологическую машину.
Технологические возможности и конструкцию ПР определяют несколько основных параметров, включаемых в их техническую характеристику: грузоподъемность, число степеней подвижности, рабочая зона, мобильность, быстродействие, погрешность позиционирования, типы управления и привода.
Грузоподъемность ПР определяется наибольшей массой изделия, например, детали, инструмента или приспособления, которым он может манипулировать в пределах рабочей зоны. В основном в типоразмерный ряд ПР, предназначенных для машиностроительного производства, входят модели грузоподъемностью от 5 до 500 кг.
Число степеней подвижности ПР определяется общим числом поступательных и вращательных движений манипулятора, без учета движений зажима-разжима его схвата. Большинство ПР в машиностроении имеет до пяти степенй подвижности.
Рабочая зона ПР определяет пространство, в котором может перемещаться схват (кисть руки) манипулятора. Обычно она характеризуется наибольшими перемещениями захватного устройства вдоль и вокруг каждой оси координат.
Мобильность ПР определяется его способностью совершать разные по характеру движения: перестановочные (транспортные) перемещения между рабочими позициями, находящимися на расстоянии, большем, чем размеры рабочей зоны манипулятора; установочные перемещения в пределах рабочей зоны, определяемой конструкцией и размерами манипулятора; ориентирующие перемещения схвата, определяемые конструкцией и размерами кисти – конечного звена манипулятора. ПР могут быть стационарными, не имеющими перестановочных перемещений, и передвижными, обеспечивающими все виды движений.
Быстродействие ПР определяется наибольшими линейными и угловыми скоростями перемещений конечного звена манипулятора. Большинство ПР, применяемых в машиностроении, имеет линейные скорости манипулятора от 0,5 до 1,2 м/с, а угловые – от 90 до 180 0/с.
Погрешность позиционирования манипулятора характеризуется средним значением отклонений центра схвата от заданного положения и зоной рассеяния данных отклонений при многократном повторении цикла установочных перемещений. Наибольшее число ПР, применяемых в машиностроении, имеет погрешность позиционирования от ± 0,05 до ± 1,0 мм. Устройства программного управления ПР могут быть цикловыми (индекс Ц), числовыми позиционными (индекс П), контурными (индекс К) или контурно-позиционными (индекс С). Приводы исполнительных органов ПР могут бытьэлектрическими, гидравлическими, пневматическими или комбинированными, например, электрогидравлическими, пневмогидравлическими.
Рассмотрим ПР первого типа, т.е. робот-манипулятор модели 3388-Ш. Этот робот (рис. 3. 111) предназначен для выполнения погрузо-разгрузочных и других вспомогательных операций в металлообработке. Робот стационарного типа имеет четыре степени подвижности: перемещение z манипулятора вдоль оси Z (подъем и опускание); выдвижение x механической руки вдоль оси X (вперед и назад), поворот манипулятора относительно оси Z (движение С); поворот кисти с захватным устройством относительно оси X (движение А). Все перемещения осуществляются от пневмо- и гидроприводов. Величины наибольших перемещений по каждой из степеней подвижности, характеризующие рабочую зону манипулятора, также показаны на рис. 3.111. Линейные перемещения выполняются со скоростью 0,7 – 1 м/с, а угловые – со скоростью 900/с.
Конструктивно рассматриваемый ПР состоит из нескольких сборочных едениц, смонтированных на основании 1 в виде жесткой сварной рамы, закрытой кожухами. На раме установлен подъемно-поворотный механизм 2 манипулятора, который может быть оснащен одной или двумя сменными механическими руками 3. Руки можно устанавливать относительно друг друга
под углом 30 – 600 при наладкеманипулятора. Грузоподъемность каждой руки 10 кг. Пневмогидравлические приводы подьема-опускания и поворота манипулятора размещены в основании ПР. Для выдвижения руки используется пневмоцилиндр 4, размещенный внутри корпуса. На базирующий фланец руки крепится кисть 5 с захватными устройствами 6 различного типа. Привод схвата осуществляется пневмоцилиндром, установленным в корпусе кисти. Движение поворота кисти со схватом осуществляется пневмоцилиндрами 7 и передачей типа рейка – шестерня, установленными на фланце с задней стороны руки.
Устройство циклового программного управления роботом размещено во внутренней полости основания. Пульт 8 оператора смонтирован на наклонной крышке основания, за пределами рабочей зоны манипулятора.
Применение РМ наиболее эффективно в робототехнических комплексах, гибких производственных модулях, на автоматизированных участках из стан-
ков с ЧПУ, в гибких производственных системах. Робот 1 можно поставить для обслуживания одного станка 2 (рис. 3.112, а), нескольких станков 2 (рис. 3.112, б). Робот может перемещаться вдоль фронта станков (рис. 3.112, в). Робот перемещает заготовки из накопителя (магазина) 3 к станкам и между станками. Во всех случаях — это автоматизированный участок, на котором автоматизированы все основные и вспомогательные операции. При обеспечении таких участков системами транспортировки и складирования заготовок с общей диспетчеризацией управления на базе ЭВМ воспроизводится гибкая производственная система.
Рис. 3. 111. Универсальный промышленный робот первого поколения
Рис. 3. 112. Возможные компоновки робототехнических комплексов
На рис. 3.113 приведена структурная схема комплексной системы с применением промышленного робота. Заготовки из заготовительного производства ЗП поступают в пункт приема заготовок ППЗ, состоящий из ряда бункеров (Б1 … Бп). Опознающее устройство ОУ позволяет установить номер группы и подгруппы заготовок. Далее детали поступают на склад заготовок СЗ или на склад полуфабрикатов СП. По сигналу от станка или диспетчера робот – перекладчик-кантователь РПК берет со склада нужную деталь и устанавливает ее на спутник транспортной системы ТС.
Спутник с деталью движется до тех пор, пока не остановится на позиции, определяемой программой. Промышленный робот (ПР) переносит деталь на многооперационный станок МС и устанавливает ее в патрон, начинается обработка. Обработанную ранее деталь робот-манипулятор снимает и устанавливает на тот же спутник. Если деталь не обработана полностью за одну установку, она поступает вновь в СП, а оттуда на другой станок.
В зависимости от характера произ-Рис. 3.113. Блок-схема автоматизирован- водства, вида выполняемых операций ного участка с использованием ПР или типа основного оборудования, об- служиваемого в автоматическом цикле, ПР могут быть разной степени универсальности, которая определяется их функциональными возможностями и переналаживаемостью. В соответствии с этими признакам ПР разделяют на специальные, специализированные (целевые) и универсальные (многоцелевые).
Специальные ПР предназначены для выполнения определенных технологических операций или обслуживания конкретных моделей технологического оборудования. Для этих роботов характерно конструктивное единство с основным или вспомогательным оборудованием. Входящим в состав гибкого производственного, например, обрабатывающего модуля. Управление циклом работы манипулятора осуществляется от устройства ЧПУ технологическим модулем.
Специализированные (целевые) ПР предназначены для выполнения технологических операций одного вида (например, сборки, сварки, окрашивания) или только вспомогательных переходов, требующих одинаковых манипуляционных действий.
Универсальные ПР предназначены для выполнения технологических операций различных видов. Они могут быть использованы как для основных технологических операций, так и для выполнения различных вспомогательных функций при обслуживании оборудования различного технологического назначения, требующих различных манипуляционных движений. Для таких роботов характерна полная конструктивная независимость от основного технологического оборудования, с которым они совместно работают, а также большое число степеней подвижности (5 — 7), обеспечивающие их широкие функциональные возможности.
§
Агрегатные станки
К агрегатным относят многоинструментальные специальные станки, проектируемые из стандартных и нормализованных узлов. Они предназначены для обработки сложных, как правило, корпусных деталей в серийном, крупносерийном и массовом производстве. На этих станках выполняют сверление, зенкерование, развертывание, растачивание, фрезерование и нарезания резьбы.
Достоинства агрегатных станков:
— более высокая производительность по сравнению с универсальными станками, обусловленная многоинструментальной обработкой;
— относительная простота изготовления вследствие унификации узлов и деталей;
— сокращение сроков проектирования и изготовления;
— возможность обслуживания станков рабочими относительно невысокой квалификации.
Наибольшее распространение получили агрегатные станки сверлильно-расточной и фрезерной групп. Компоновка этих станков весьма разнообразна. Она зависит от формы, размеров и точности обрабатываемых деталей, расположения на них обрабатываемых поверхностей и принятого технологического процесса.

В зависимости от обрабатываемой детали агрегатные станки компонуют по различным схемам: односторонними и многосторонними, одношпиндельными и многошпиндельными, однопозиционными и многопозиционными в вертикальном, наклонном, горизонтальном и комбинированном исполнениях. На рис. 3. 117 показаны схемы некоторых компоновок: односторонняя однопозиционная (3. 117, а), наклонная односторонняя однопозиционная (3. 117, б),однопозиционная смешанная (3. 117, в), вертикальная односторонняя многопозиционная (3. 117, г).
Рис.3. 117. Примеры компоновки агрегатных станков
Рис. 3. 118. Унифицированные узлы агрегатных станков
Значительное распространение получили агрегатные станки с многопозиционными поворотными столами и поворотными барабанами для параллельно-последовательной обработки одновременно нескольких деталей. На таких станках вспомогательное время сокращено до минимума, так как установка и снятие деталей на загрузочной позиции совмещено с обработкой на других позициях.
Унификация узлов в типовых компоновках составляет до 90 %. Рассмотрим в качестве примера типовые унифицированные узлы вертикального агрегатного станка (рис. 3. 118). Унифицированы базовые детали (станина 1, стойка 9, боковая станина 20, уголник 11), силовые узлы (стол 8, а в станках других типов головки), шпиндельные узлы (шпиндельная коробка 14, расточная бабка 19, сверлильная бабка 10), узлы транспортировкм ( поворотный делительный стол 3, двухпозиционный делительный стол прямолинейного перемещения 18), узлы главного движения (коробка скоростей 17 с зубчатыми колесами или в других станках с ременным приводом), гидрооборудование (гидробак 4, насосная установка 5, гидропанель 6), электрооборудование ( центральный и наладочный пульты 2, электрошкаф силовых узлов 16, электрошкаф 7 станка), вспомогательные узлы (удлинитель 15, резьбовой копир 13, расточная пиноль 12). Специальные узлы, например, приспособление для крепления деталей имеют отдельные нормализованные элементы.
§
Силовые узлы предназначены для сообщения режущим инструментам движения резания (главного движения) и движения подачи (силовые головки) или движения подачи (силовые столы).
Силовые головки, как правило, работают в полуавтоматических циклах, например:
— быстрый подвод – рабочая подача – быстрый отвод – стоп.
Иногда для получения более точных размеров по глубине перед быстрым отводом осуществляют выдержку на жестком упоре.
Силовые головки по типу привода подачи делятся на электромеханические (кулачковые и винтовые) и гидравлические. По конструктивному признаку различают головки с выдвижной пинолью и подвижным корпусом. Силовые головки, у которых привод подачи расположен в этом же агрегате, называют самодействующими. В несамодействующих головках часть механизмов привода подачи (насос, панель управления) вынесены за пределы головки.
Механическая пинольная самодействующая силовая головка (рис. 3. 119) обычно используется для обработки отверстий различными инструментами. Конструктивно такая головка выполнена в виде кинематических групп скорости резания Фv(В1) и подачи Фs(П2), объединенных общим электродвигателем и общим корпусом. Группа Фv(В1). Ее внутренняя связь:
подшипниковые опоры пиноли 6 → шпиндель 7 (В1).
Внешняя связь:
М1 → редуктор 2 → вал 3 → шлицевое соединение вал 3–шпиндель 7 (В1).
Группа подачи Фs(П2). Ее внутренняя связь:
корпус головки → пиноль 6 (П2).
Внешняя связь:
М1 → редуктор 2 → вал 3 → червячная передача 10 → гитара сменных
колес 4 (орган настройки is) → внешнее зубчатое зацепление
выходной вал гитары 4-кулачок 8 (ТВ) →пиноль 6 (П2).
Для предотвращения поломок инструмента при резком возрастании нагрузки в цепи подачи предусмотрена предохранительная муфта 9.
Группа настраивается на скорость – двухколесной гитарой 4, на путь и исходное положение кулачком 8. Конечные выключатели 5 дают команды на торможение и выключение электродвигателя при возвращении пиноли в исходное положение.
Во время работы корпус головки неподвижен. При наладке станка его можно перемещать вручную вдоль салазок посредством передачи винт-гайка (на схеме не показаны).
Рис. 119. Схема механической самодействующей силовой головки
Гидравлическая несамодействующая силовая головка (рис. 3.120) выполнена по схеме с подвижным корпусом. А часть механизмов гидропривода ее группы подачи, включающая резервуар для масла, насос с электродвигателем и гидропанель расположены отдельно.
Группа скорости резания Фv(В1) головки. Ее внутренняя связь:
подшипниковые опоры корпуса 5 → вал (шпиндель) 4.
Внешняя связь:
М1 →z2 /z3 → вал (шпиндель) 4.
На передний конец вала 4 устанавливается зубчатое колесо, зацепляемое с первым зубчатым колесом шпиндельной коробки, устанавливаемой на фланце корпуса 5 головки. Примеры шпиндельных сверлильных коробок приведены при рассмотрении сверлильных станков в п 3.2.1., рис. 3.16.
Группа подачи Фs(П2). Ее внутренняя связь:
направляющие плиты 6 → корпус головки 5 (П2).
Внешняя связь:
насосная установка → гидропанель → трубопроводы →
→ гидроцилиндр 7 → корпус 5 головки (П2).
Группа настраивается на скорость – регулируемыми дросселями гидропанели, на путь и исходное положение – упорами системы путевого управления при задании цикла работы.
Рис. 3. 120. Схема гидравлической несамодействующей силовой головки
Силовые столы предназначены для установки узлов с самостоятельным приводом вращения (фрезерных, расточных и др. бабок) с целью осуществления рабочих циклов прямолинейных подач. В структуре агрегатного станка такой стол выполняет функцию группы подач Фs(П) с отдельным электрическим или гидравлическим двигателем подач. На рис. 3. 121 показана схема силового стола с электромеханическим приводом.
Внутренняя связь:
направляющие основания огрегата → стол 2, несущий плиту 1 (П).
Внешних связей две:
Первая внешняя связь, обеспечивающая рабочую подачу, имеет вид
М1 → z14/x13 → z1/z12 → (is = z2/z3) → предохранительная муфта М2 →
→ z11/z10 → x9/z8 (муфта М1 включена) → z5/z4 → z6/z7 →
→ТВ (передача винт-гайка) → стол 2 (П).
Вторая внешняя связь, обеспечивающая позиционирование (быстрый подвод и отвод) стола 2 имеет вид
М2 → z5/z4 (муфта М1 выключена) → z6/z7 →
→ТВ (передача винт-гайка) → стол 2 (П).
На скорость (рабочую подачу) группа настраивается гитарой
is.
При необходимости получения двух рабочих подач в цикле устанавливают двухскоростной электродвигатель М1.
Рис. 3.121. Кинематическая схема силового стола
Управление циклом работы стола осуществляется посредством передвижных упоров 4,закрепленных на линейке 3 и действующих на конечные выключатели 5 системы управления.
§
Гидропанели применяют для управления циклом работы силовой головки. В гидропанели скомпонованы все приборы и аппараты, осуществляющие пуск, останов, изменение величины подачи, реверс и т.д. Гидропанели, как правило, унифицированы.
На рис. 3.122 показана гидросхема привода подачи силовой головки, включающая сдвоенный насос 1.1 -.12, гидропанель 24 и силовой цилиндр 23 с закрепленным штоком. Гидропанель обеспечивает быстрый подвод, две рабочие подачи (первую и вторую), выдержку на жестком упоре, быстрый отвод в исходное положение, остановку силовой головки. Для получения такого цикла гидрораспределитель 10 может занимать пять положений, фиксируемых подпружиненным фиксатором 9. Крайние положения гидрораспределитель 10 занимает при включении соленоидов 15 и 19. В этот момент масло от насоса 1.2
быстрого хода поступает в правую или левую полости плунжера 17, смещая его до упора. Тогда через реечную передачу вверх или вниз смещается гидрораспределитель 10. Промежуточные положение гидрораспределителя зависят от положения ролика 8, упирающегося в упоры.
Рис. 3. 122. Гидросхема группы подачи силовой головки
Для получения быстрого подвода включается соленоид 19. При этом положении гидрораспределителя полости а и б соединяются, а полость в изолируется. Масло поступает в полость б от насоса 1.1 по трубопроводу 4, а от насоса 1.2 рабочих подач через подпорный клапан 21 и трубопровод 22. Из полости а, соединенной с полостью б, масло поступает в правую полость цилиндра 23. Вытесняемое масло через обратный клапан 12 и гидрораспределитель 10 вновь поступает в правую полость цилиндра, способствуя тем самым увеличению подачи насоса.
Для получения первой рабочей подачи (положение показано на рис. 3.122) масло от насоса 1.1 через фильтр 2, трубопровод 3, дроссель 6, дозирующий клапан 5 и полость а поступает в правую полость цилиндра 23. Вытесняемое масло сливается в бак через клапан 12 и полость в. Излишки масла сливаются через переливной клапан 25.2. Масло от насоса 1.2 сливается в бак; в схеме предусмотрен предохранительный клапан 25.1.
Для получения второй рабочей подачи (медленной) масло от насоса 1.1 поступает в цилиндр, пройдя два дросселя 6 и 7. При позиции «Останов» масло от насосов 1.1 и 1.2 по трубопроводам 22 и 4 сливается в бак.
При быстром отводе гидрораспределитель 10 занимает самую верхнюю позицию. Тогда масло от насосов 1.1 и 1.2 по трубопроводам 4 и 26 – 22 поступает в полость б, а оттуда через обратный клапан 11 – в левую полость цилиндра 23. Из правой полости масло через гидрораспределитель 10 и трубопровод 18 сливается в бак. Выдержка на жестком упоре становится возможной, когда торец цилиндра встречает при движении упорный винт. В этом случае давление масла в системе повышается и датчик 13 реле давления 14 дает команду на включение соленоида 15 и быстрый отвод головки.
Рассмотренная схема обеспечивает бесступенчатое регулирование подачив пределах 7 — 800 мм/мин и ускоренный ход порядка 3 – 7,5 м/мин. Кроме этого, малое время холостых ходов обеспечивается достаточной точностью переключения с ускоренных ходов на рабочие подачи и наоборот. Причем выег составляет 0,18 – 0,47 мм. Большая жесткость, надежная защита от перегрузки, самосмазываемость деталей привода обеспечивают силовой головке высокие эксплуатационные качества.
К числу недостатков гидравлических силовых головок относится сложность гидропанелей в эксплуатации и ремонте, нестабильность подачи при резко изменяющихся силах резания. С помощью гидравлических силовых головок нельзя производить резьбонарезные операции.
§
Обработки
Станки для электрофизической и электрохимической
Шпиндельные узлы
К шпиндельным узлам относятся шпиндельные коробки, сверлильные, расточные, фрезерные и револьверные бабки.
Шпиндельные коробки предназначены для размещения рабочих шпинделей и передачи движения от выходного вала силовой головки к шпинделям. Шпиндельные коробки используются для выполнения сверлильно-расточных операций. Имеются также модификации для нарезания резьбы в отверстиях.
Сверлильные, расточные, фрезерные бабки предназначены для обработки одним шпинделем. Револьверная бабка дает возможность вести обработку тремя инструментами, например сверлом,зенкером, разверткой. Для сообщения инструменту движения подачи бабки устанавливают на силовых столах. Корпусы бабки имеют фланцы для установки привода вращения шпинделя.
Открытие в 1943 г. электроэрозионного явления положило начало использованию физических явлений для обработки материалов плохо поддающихся традиционной обработке резанием. На технологическом оборудовании, использующем физические явления, выполняют сквозные отверстия с цилиндрическими стенками и произвольным контуром, узкие прямолинейные и криволинейные щели в деталях типа матриц, сложных штампов, пресс-форм, фасонного режущего инструмента, шаблонов, фильер и других деталей, имеющих, в том числе, малые размеры отверстий (до 0,05 мм).
Физическое явление при обработке материалов выполняет функцию режущего инструмента. Понятие о характеристическом образе (вспомогательном элементе) инструмента, сформулированное в разделе 2, полностью относится также и к используемым при обработке материалов физическим явлениям.
При обработке труднообрабатываемых материалов используются также комбинированные способы обработки, например, обработка резанием с наложением электростатического или электромагнитного поля и т.п.
Электроэрозионная обработка, основана на физическом явлении, заключающемся в направленном разрушении материала обрабатываемой детали под воздействием электрических разрядов. Сущность направленного разрушения состоит в следующем. При электрическом разряде сфокусированный поток электронов, двигаясь с большой скоростью от одного электрода к другому, создает на поверхности электродов ударные волны сжатия. Возникшее в металле механическое напряжение распространяется по всем направлениям, в том числе, и откуда пришла ударная волна. Достигнув первоначальной поверхности, она отражается от нее и меняет знак на обратный, вследствие чего на поверхности возникают растягивающие напряжения. В результате этого происходит выброс частиц металла в направлении, встречном ударной волне сжатия. Электрод постепенно погружается в заготовку, копируя в ней свою форму.
В зависимости от вида применяемых разрядов эрозионная обработка делится на три вида, получивших широкое распространение: электроискровая, электроимпульсная и комбинированная с использованием электроэрозионного явления.
Электроискровая обработка осуществляется при использовании искровых разрядов малой длительности (порядка нескольких сотых секунду), которые следуют с большой скважностью. Обрабатываемая деталь 1 (рис. 3.123) погружена в жидкую среду 2 (керосин, трансформаторное масло, смесь керосина и индустриального масла и т.п.). Инструмент 3 (медь М1, М2, медный сплав МЦ-1, алюминий и его сплавы) перемещается поступательно-возвратно. Электрический ток от специального генератора Г подводится к детали-аноду и инструменту-катоду. Необходимый искровой зазор между деталью и инструментом поддерживается автоматическим регулятором АР. Форма разрушения детали зависит от формы торцовой части инструмента.
Электроискровая обработ- ка характеризуется широким диапозоном режимов обработ ки – от черновой производи- тельностью 1,5 – 10 мм3/с при Rz = 160 – 40 мкм до отделоч- ной производительностью око- ло 0,001 мм3/с при Ra = 1,25 – 0,16 мкм. Особенность этого процесса — сравнительно низ- кая производительность, большой износ электродов, об- Рис. 3.123. Схема станка для электроис- разование на обрабатываемой кровой обработки поверхности тонкого дефект- ного слоя толщиной 0,2 –0,5мм на черновых и 0,02 – 0,05 мм на чистовых режимах.
Область использования – обработка заготовок небольших размеров, изготовление твердосплавных матриц, отверстий малого диаметра.
Электроимпульсная обработка отличается от электроискровой тем, что обрабатываемая деталь является катодом, а инструмент – анодом. Импульсные разряды создают машинными и полупроводниковыми генераторами. Процесс осуществляется, как правило, на низких и средних частота (400 – 300 Гц) с низким напряжением (25 — 30 В) и большой силе тока (50 – 500 А). Длительность импульсов 0,5 – 1, мкс. Особенность процесса обработки — относительно небольшой износ электродов (например, для графита 0,1 – 0,5 %) и относительно высокая производительность, например, на черновых режимах 100 – 300 мм3/с при Rz = 80 – 40 мкм.
Электроимпульсная обработка используется при обработке средних и крупных штампов, пресс-форм лопаток турбин, решеток и т.п. деталей из закаленных и труднообрабатываемых деталей.
Станки для электроискровой и электроимпульсной обработки образуют размерный ряд, в котором в качестве основного параметра принят размер стола. К этому ряду относятся электроэрозионные копировально-прошивочные координатные станки высокой точности, например, моделей 4Д722А, 4Е723А, 4726 и группа станков с ЧПУ для профильной вырезки перематывающейся латунной проволокой, например, станок модели 4532Ф3.
Электроэрозионный вырезной станок с ЧПУ модели 4532Ф3.
Предназначен для изготовления вырубных штампов холодной штамповки, фасонных фильер в матрицах, шаблонов и подобных деталей из токопроводящих материалов: легированных закаленных сталей, металлокерамических твердых сплавов и т.д. В качестве источника технологического тока в станке применен тиристорный генератор коротких импульсов.
3.124. Электроэрозионный вырезной станок модели 4532Ф3
Техническая характеристика. Наибольшие размеры обрабатываемой заготовки 250 × 160 × 75 мм; наибольшая масса 45 кг. Точность изготовления контура 0,032 мм. Наибольшая производительность при обработке: стали 35 мм3/мин, твердого сплава 18 мм3/мин.
Станок оснащен устройством ЧПУ типа «Контур» с линейным интерполятором. Может быть также оснащен мини-ЭВМ, где программа вводится посредством перфоленты или клавиатуры.
Класс воспроизведения вырезаемой поверхности копирование след. Поэтому кинематическая структура станка содержит одну формообразующую группу Фv(П1П2) и три вспомогательные группы Вс(В3), Вс(П4), Вс(П5).
Группа Фs(П1П2) воспроизводит направляющую — профиль обрабатываемой поверхности посредством перемещения скобы с проволокой в горизонтальной плоскости в двух взаимно перпендикулярных направлениях (прямоугольная система координат). Конструктивно эта группа смонтирована в отдельном корпусе, перемещающемся по направляющим качения, выполненным в виде линейных подшипников (танкеток). Особенность группы – применение двух шаговых электродвигателей и синхронной электронной связи между ними, осуществляющей согласование продольной и поперечной кареток, несущих скобу (аналог инструментального суппорта).
Внутренняя связь:
продольная каретка (П1) → 1/tТВ=5 → 75/24 → 60/18 → М2 → М3 →
→ 18/60 → 24/75 → tТВ=5 → поперечная каретка (П2).
Группа включает две одинаковых внешних связи, обеспечивающие внутреннюю связь энергией движения.
Первая внешняя связь:
М2 → 18/60 → 24/75 → tТВ=5 → продольная каретка (П1).
Вторая внешняя связь:
М3 → 18/60 → 24/75 → tТВ=5 → продольная каретка (П2).
Звено соединения связей – «электрический вал», или система синхронизации, функцию которой выполняет линейный интерполятор системы ЧПУ, связывающая оба шаговые электродвигателя.
Группа настраивается на траекторию и скорость – системой ЧПУ.
При линейном перемещении скобы по одной из двух координат в любую сторону за один импульс от пульта ЧПУ (при минимальном повороте вала шагового двигателя на 1,5о) составит

Ручное установочное перемещение скобы осуществляется в продольном направлении непосредственно от ТВ, в поперечном направлении через винтовую зубчатую передачу 28/28 и ТВ.
Скоба служит для установки и крепления всех устройств и механизмов, обеспечивающих перемотку и натяжение электрода-проволоки. Для устранения влияния износа проволоки на обработку ее перематывают с небольшой скоростью.
Перемотка проволоки осуществляется группой Вс(В3). Ее внутренняя связь:
подшипниковые опоры скобы → гильза шпинделя приемной катушки (В3).
Внешняя связь:
М4 → ременная передача → гильза шпинделя приемной катушки (В3).
Скорость перемотки регулируется в пределах 8 – 20 мм/с посредством изменения частоты вращения ротора частотно регулируемого реактивного электродвигателя М4 типа РД – 09.
Перемотка проволоки сопровождается ее укладкой на приемной катушке. Это движение осуществляется группой Вс(П4), имеющей общий электродвигатель с группой Вс(В3).
Внутренняя связь группы укладки проволоки:
гильза → шпинделя приемной катушки (П4).
Внешняя связь:
М4 → 20/80 → 20/80 →20/80 → вал XIII → кулачок 2 →
→ качающийся рычаг 1 → шпинделя приемной катушки (П4).
Скорость раскладки ненастраивается, а изменяется одновременно с изменением скорости перемотки проволоки.
В нижней части станины расположена подъемная ванна для рабочей жидкости. В ванне расположен Г-образный стол для закрепления обрабатываемой заготовки. Подъем и опускание ванны осуществляется посредством ненастраиваемой группы Вс(П5). Ее внешняя связь:
М1 → 2/77 → ТВ → ванна (П5).
Скорость перемещения ванны

§
Анодно-механическая обработка осуществляет комбинированный процесс анодного растворения и электроэрозионного воздействия на обрабатываемую заготовку. Схема обработки поясняется рис. 3. 125, а. Инструменту 1 в виде диска (или непрерывной ленты) сообщается вращательное движение скорости резания и подача на заготовку 2. Подаваемый в пространство между заготовкой и инструментом электролит растворяет под действием тока металл. Образуемая на его поверхности тонкая пленка 3 (рис. 3. 125, б) имеет небольшую прочность и поэтому легко удаляется инструментом. На месте удаленной пленки образуется новая пленка, также удаляемая. В результате процесс обработки заключается в непрерывном возникновении и удалении тонкой пленки. Одновременно с этим электромеханическим процессом происходит электроэрозионный процесс, так как при удалении пленки возникают искровые промежутки, через которые происходят электрические разряды.
В качестве электролита, дающего пассивирующую пленку на аноде, используют водный раствор жидкого стекла. Электрод изготовляется из низкоуглеродистой стали.
Анодно-механическую обработки используют преимущественно для разрезки заготовок из высоколегированных сталей и труднообрабатываемых сплавов, для безабразивной заточки твердосплавных инструментов. Скорость резания составляет: диском 0,15 – 0,35 м/мин, лентой до 0,2 м/мин. Ширина прорези при разрезании заготовок составляет: диском 1,5 – 3 мм, непрерывной лентой 1 – 2 мм.
В промышленности используются различные модификации гаммы лен- точных отрезных станков моделей
Рис.3 125. Схема анодно-механической 4840, 4850, 4860, 4870.
обработки Алмазно-электроэрозионное шли- фование основано на комбинировании микрорезания алмазным инструментом 1 детали 2 и эрозионным разрушении (рис. 3.126). В промышленности используются алмазно-электроэрозионные станки для заточки резцов и фрез, а также кругло- и внутришлифовальные станки. В качестве инструмента применяют алмазные круги на токопроводящих связках, например, М1, М31 с алмазами марки АСР, АСВ зернистостью 100/80 – 250/200, концентрацией 100%.
Кинематическая структура станков для алмазно-электроэрозионного шлифования практически не отличается от кинематической структуры соответствующих традиционных шлифовальных станков.
Электролитическое сверление (рис. 3.127) используется для обработки отверстий в твердых сплавах, закаленных сталях, магнитных сплавах и других токопроводящих материалах. Осуществляют алмазным сверлом 1, закрепленным с помощью специальной головки, которая, кроме передачи движения вращения В1 и подачи П2 , обеспечивает также подачу электролита под давлением РЭ во внутреннюю полость инструмента. Заготовка 2 является анодом, а сверло 1 – котодом. Процесс основан на комбинировании трех видов воздействия на материал заготовки: традиционного механического, элек
трохимического и электроэрозионного.
Рис. 3.126. Схема алмазно-электроэрозионного Рис. 3.127. Схема алмазно-
шлифования электролитического сверления
Наиболее интенсивный съем материала происходит при преимущественном механическом воздействии. В этом случае абразивный съем должен осуществляться при высоких удельных давлениях. В результате достигается высокая производительность, но происходит интенсивный износ инструмента. Если решающее значение имеет обеспечение высокой производительности, то основную роль в процессе съема припуска должно иметь электрохимическое воздействие. При определенных режимах обработки существенное значение может иметь электроэрозионное воздействие, которое обусловлено интенсивными электроэрозионными разрядами, происходящими вследствие контактирования токопроводящей связки алмазного инструмента с обрабатываемой поверхностью.
§
Разработка мощных и надежных оптических генераторов (лазеров), работающих в непрерывном и импульсном режимах, обеспечило создание класса технологических операций – лазерное разделение (разрезание) материлов, которым присущи следующие особенности:
— обширный диапазон разделяемых материалов;
— возможность получения узких разрезов и безотходного разделения;
— малая зона термического влияния;
— минимальное механическое воздействие, оказываемое на разделяемый материал;
— возможность автоматизации процесса;
возможность резки по заданному профилю.
Разделение может происходить как за счет удаления расплавленной части материала из зоны взаимодействия с лучом, так и посредством создания термонапряжений с последующим раскалыванием по образующейся трещине. Первый вариант используется для резки металлов и некоторых видов диэлектрических материалов, причем обычно продукты разрушения удаляются направленной струей химически активного или инертного газа. Второй вариант характерен для резки хрупких материалов, например, стекла, керамики или ситалла.
Схема лазерного разделения материалов приведена на рис. 3.128. Лазерный луч 8, отражаясь от зеркала 4, фокусируется энергетической оптической системой 3 на поверхность разрезаемого материала 7, и с помощью соосного с лучом сопла 2 в зону нагрева направляется газовая струя.
При резке металлов для увеличения эффективности процесса обычно используется кислород. При резке неметаллов поддув кислорода целесообразен только в тех случаях, когда горение материала способствует увеличению скорости резания и в то же время обеспечивает сохранность свойств исходного материала по границам разреза. Однако для большинства неметаллических ма-
Рис. 3.128. Схема лазерного разделения материалов
териалов, содержащих в своем составе углерод, воспламенение и горение в струе кислорода отрицательно сказываются на качестве лазерной резки, и для ее осуществления применяют поддув инертных газов или воздуха. При этом функция газовой струи в основном заключается в удалении продуктов разрушения из области разреза. Типичные значения давления газа составляют 1,5 – 3 атм при диаметре выходного сопла до 5 мм и расстоянии от среза сопла до поверхности разрезаемого листа не более диаметра струи. Применение поддува газа для повышения эффективности лазерной резки приводит к увеличению глубины резания более чем на порядок. Скорость резки металлов и неметаллов при исползовании мощных лазеров (до 1 кВт) может достигать несколько см/с. Следует отметить также, что газолазерная резка позволяет осуществить резку таких трудно обрабатываемых материалов, как бериллиевая керамик.
В промышленности нашло применение лазерное разрезание хрупких материалов, основанное на управляемом термораскалывании. Здесь плотность светового потока в зоне облучения и скорость перемещения луча по поверхности разрезаемого листа подбирают такими, чтобы обеспечить нагрев приповерхностных слоев материала до температуры, при которой термические напряжения превышают предел прочности. Разделение материала происходит по образовавшейся в результате этого трещине.
Рис. 3.129. Структурная схема лазерной Рис. 3. 130. Схема газоплазменной
технологической установки лазерной наплавки
Независимо от типа применяемого лазера и назначения лазерные технологические установки состоят из ряда анологичных функциональных узлов и имеют общую структурную схему (рис.3.129). Основным источником энергии, обеспечивающим процесс обрабоки, является оптический квантовый генератор 1. Лазерное излучение 2 формируется оптической системой 3 в световой пучек с определенными пространственными характеристиками и направляется на обрабатываемую заготовку 4. При помощи оптической системы могут осуществляться также визуальный контроль положения заготовки относительно луча, наблюдение за ходом процесса обработки и оценка его результата. Устройство 5 обеспечивает базирование и закрепление заготовки на рабочей позиции с необходимой точностью и его перемещение в процессе обработки.
Некоторые процессы резания, сварки и наплавки требуют подачи в рабочую зону технологической среды, например инертного газа, для чего предусматривается соответствующее устройство 6. При комбинированной обработке в зону обработки вводят также дополнительную энергию (механическую, электромагнитную и т.п.). Для этой цели служит источник вспомогательной энергии 7. Примеры комбинированной обработки – газолазерная резка, лазерноэлектроискровая обработка отверстий и др. Установка может снабжаться программным устройством 8, управляющим перемещением базирующего устройства 5 относительно инструмента (лазерного луча). Датчик 9 предназначен для контроля параметров излучения. Датчик параметров технологического процесса 10 может контролировать температуру зоны обработки, состояние поверхности обрабатываемой заготовки, яркость свечения плазменного факела и давать сигналы управляющему устройству для изменения параметров излучения или прекращения операции.
В технологических установках для лазерного разделения (раскроя) материалов устройство 5 для базирования, закрепления и перемещения заготовок в процессе резания выполняется на базе современных координатографов с ЧПУ, являющимися аналогами крестовых столов станков с ЧПУ. Кинематические закономерности функционирования устройств 5 полностью совпадают с закономерностями функционирования крестовых столов.
Наряду с лазерным резанием в металлообработке используется также лазерное напыление и наплавка более износостойкого материала на поверхность заготовки. На рис. 3. 130 приведена схема способа газоплазменной лазерной наплавки поверхностного слоя. По этой схеме заготовку 1 устанавливают в шпиндель технологической машины по линии центров под смонтированными на суппорте источником лазерного луча 2 и питателем 3 газопорошковой смеси. Одновременно с движениями В1 и П2 , сообщаемым заготовке и суппорту, на поверхность заготовуи направляют луч лазера и поток газопорошковой смеси. Последний под воздействием лазерного луча переходит в жидкое состояние и наплавляется на заготовку в виде спмрального валика. На процесс формирования валика оказывают влияние коэффициент фокусировки ∆f луча лазера и параметры Gn, L,α газоплазменной смеси. Рекомендуемая скорость формообразования (геометрическая сумма линейных скоростей движений В1 и П2) равна 8 – 50 мм/с.
§
Раскрой листового материала струей жидкости
В ряде отраслей промышленности для раскроя листового материала (пластмассы, тонколистовая конструкционная сталь) используется струя жидкости. При осуществлении раскроя (рис. 3. 131) раскраиваемый лист 1 устанавливают под соплом 2. Затем через него в направлении резания П1 подают струю жидкости диаметром 0.12 – 0.29 мм под давлением свыше 100 МПа со скоростью 1500 м/с, а листу – движение подачи П2. При таких характеристиках струи ее воздействие на твердое тело обеспе- чивает качественный и производи- тельный раскрой деталей со слож- ным контуром.
В качестве жидкости, выполняющей функцию режущего инструмента, используется вода с антикоррозионными присадками. В ряде вариантов, например, при раскрое листовой стали в жидкость добавляют мелкозернистый абразив, т.е. используют водоабразивную смесь. Однако в этом случае снижается период размерной стойкости сопла.
В технологических установках Рис.3. 131. Схема резания струей жидкости для раскроя материала струей жидкос- ти стол выполняется на основе координатографов с ЧПУ.
1. Исторические этапы развития станкостроения и станковедения (науки о металлорежущих станках). История развития станкостроения Беларуси.
2. Замечательные изобретения в области металлорежущих станков. Оценка изобретения лучкового привода, суппорта, гитары зубчатых колес, станка-автомата, системы числового программного управления, промышленного робота.
3. Классификация металлорежущих станков по технологическим признакам. Методика обозначения моделей станков. Примеры обозначений.
4. Классы точности металлорежущих станков. Требования к конструированию, изготовлению и эксплуатации станков различных классов точности.
5. Технико-экономические показатели станков: эффективность, производительность, надежность, гибкость, точность, как критерии качества отдельных станков, так и станочных комплексов.
6. Поверхность изделия как пересечения воспроизводящих линий: образующей и направляющей. Геометрическая и реальная поверхность. Требования к качеству реальных поверхностей при их получении резанием.
7. Понятие о характеристическом образе инструмента. Методы получения воспроизводящих линий. Примеры получения воспроизводящих линий на металлорежущих станках.
8. Методы образования поверхностей на металлорежущих станках. Классы образования поверхностей. Неосуществимые классы при обработке резанием.
9. Классификация движений на металлорежущих станках по функциональному признаку. Параметры движений и требования к точности их настройки.
10. Понятие о кинематической группе. Виды групп. Способы соединения групп. Примеры простых и сложных групп.
11. Структурная и расчетная цепи. Методика задания расчетных перемещений. Уравнение кинематической цепи. Формула настройки. Примеры.
12. Понятие о тяговом вале. Шаг тягового вала. Виды передач, используемых в качестве тягового вала. Примеры использования тягового вала в структуре металлорежущих станков.
13. Кинематическая структура станка. Виды структур по количеству и сложности кинематических групп. Параллельное, последовательное и смешанное соединение групп.
14. Реверсивные механизмы, используемые в металлорежущих станках: разновидности, достоинства и недостатки различных видов.
15. Гитары сменных зубчатых колес: разновидности, достоинства и недостатки различных видов и направления использования в кинематической структуре.
16. Механизмы для ступенчатого изменения скорости: разновидности, достоинства и недостатки различных видов и области использования в кинематической структуре.
17. Виды передач вращательного движения, используемые в металлорежущих станках. Передаточное отношение и передаточное число. Передаточное отношение совокупности последовательно расположенных передач.
18. Методика определения передаточного отношения планетарного суммирующего механизма. Формула Виллиса и ее использование при определении передаточного отношения суммирующих механизмов.
19. Особенности расчета кинематических цепей с планетарными суммирующими механизмами.
20. Бесступенчатое изменение скорости исполнительного звена: разновидности механических вариаторов и области использования в кинематической структуре, достоинства различных видов.
21. Шестеренчатые коробки: структура, использование в кинематической структуре. Одиночные и групповые передачи коробок. Разновидности механизмов переключения групповых передач.
22. Непланетарные суммирующие механизмы в металлорежущих станках: область использования, определение суммарного значения скорости или пути на ведомом звене. Примеры использования.
23. Станки токарной группы: типаж, размерный ряд, область использования, компоновка станков различных подгрупп.
24. Токарно-винторезные станки как объединение частных токарных и винторезных кинематических структур. Токарная структура.
25. Кинематическая структура винторезного станка. Особенности настройки при нарезании различных резьб: метрической, модульной, дюймовой, питьчевой, архимедовой спирали.
26. Вертикально- и радиально-сверлильные станки: область использования, размерный ряд, кинематическая структура, особенности конструкции.
27. Вертикально- и горизонтально-фрезерные станки: область использования, размерный ряд, кинематическая структура, особенности конструкции.
28. Продольнофрезерные станки: область использования, размерный ряд, кинематическая структура, особенности конструкции.
29. Плоско- и круглошлифовальные станки: область использования, размерный ряд, кинематическая структура, особенности конструкции.
30. Бесцентровошлифовальные станки: область использования, размерный ряд, кинематическая структура, особенности конструкции.
31. Вертикальные координатнорасточные станки: область использования, размерный ряд, кинематическая структура, особенности конструкции.
32. Горизонтальнорасточные станки: область использования, размерный ряд, кинематическая структура, особенности конструкции.
33. Фасонное зубофрезерование цилиндрических и конических колес: область использования, схема исполнительных движений, оборудование и инструмент, достоинство и недостатки.
34. Лимбовая универсальная делительная головка: конструкция, расчет настройки при простом и дифференциальном делении. Настройка при фрезеровании винтовых канавок спиральных сверл и плоских кулачков.
35. Безлимбовая универсальная делительная головка: конструкция, расчет настройки при простом и дифференциальном делении. Настройка при фрезеровании винтовых канавок спиральных сверл и плоских кулачков.
36. Зубодолбежные станки: область использования, типовая кинематическая структура, расчет настройки. Особенности обработки колес с винтовым зубом.
37. Зубофрезерование цилиндрических и червячных колес червячными фрезами: область использования, схемы установки фрез относительно заготовок, исполнительные движения при фрезеровании прямозубых и косозубых цилиндрических колес, червячных колес, при диагональном зубофрезеровании.
38. Типовая кинематическая структура зубофрезерного станка для обработки прямозубых цилиндрических колес. Расчет настройки при простом и дифференциальном зубофрезеровании.
39. Типовая кинематическая структура зубофрезерного станка для обработки косозубых цилиндрических колес. Расчет настройки.
40. Типовая кинематическая структура зубофрезерного станка для обработки червячных колес при радиальном врезании. Расчет настройки.
41. Типовая кинематическая структура зубофрезерного станка для обработки червячных колес при осевом врезании. Расчет настройки.
42. Типовая кинематическая структура зубофрезерного станка для обработки косозубых цилиндрических колес при диагональном зубофрезеровании. Расчет настройки.
43. Типовые схемы нарезания конических колес с прямыми и дуговыми зубьями. Схемы исполнительных движений. Понятие о плоском и плосковершинном воспроизводящем колесе.
44. Типовая кинематическая структура зубострогального станка при профилировании прямозубых конических колес обкатом. Расчет настройки.
45. Типовая кинематическая структура зубострогального станка при профилировании прямозубых конических колес копированием. Расчет настройки.
46. Типовая кинематическая структура зуборезного станка для обработки конических колес с дуговым (круговым) зубом при профилировании обкатом. Расчет настройки.
47. Типовая кинематическая структура зуборезного станка для обработки конических колес с дуговым (круговым) зубом при профилировании копированием. Расчет настройки.
48. Полуобкатная гипоидная передача: особенности профиля зубьев колеса и шестерни, модификанция профиля шестерни, особенности движения обката при профилировании шестерни. Модификация группы обката кинематической структуры станка для нарезания гипоидных зубчатых колес.
49. Чистовая обработка зубчатых колес: виды обработки и применяемый инструмент, схемы обработки, исполнительные движения. Область использования различных видов обработки.
50. Зубошевингование: типовая схема, понятие скорости резания, типовая кинематическая структура зубошевинговального станка.
51. Кинематическая структура зубошлифовального станка для шлифования цилиндрических зубчатых колес абразивным червячным кругом. Расчет настройки станка при обработке прямозубых и косозубых колес.
52. Кинематическая структура зубошлифовального станка для шлифования цилиндрических зубчатых колес абразивным дисковым кругом. Расчет настройки станка при обработке прямозубых колес.
53. Типовые схемы нарезания резьбы различными видами инструментов: исполнительные движения, задание расчетных перемещений для движений формообразования.
54. Кинематическая структура станка для нарезания резьбы гребенчатой фрезой. Расчет настройки.
55. Кинематическая структура станка для нарезания резьбы червячной фрезой. Расчет настройки.
56. Кинематическая структура резьбошлифовального станка для обработки резьбы однониточным кругом. Расчет настройки.
57 Кинематическая структура резьбошлифовального станка для обработки резьбы многониточным кругом. Расчет настройки.
58. Токарные автоматы: область использования, типаж, размерные ряды, особенности компоновки основных типов автоматов.
59. Типовая кинематическая структура автомата для продольного точения. Методика расчета настройки.
60. Типовая кинематическая структура фасонно-отрезного автомата. Методика расчета настройки.
61. Типовая кинематическая структура токарно-револьверного автомата. Методика расчета настройки.
62. Схема токарной обработки с использованием многорезцовой наладки: область использования, особенности выбора режимов обработки. Кинематическая структура многорезцового токарного полуавтомата. Расчет настройки.
63. Агрегатные станки: область использования, особенности компоновки, модульный принцип проектирования из нормализованных узлов.
64. Типовая кинематическая структура токарно-винторезного станка с числовым программным управлением.
65. Типовая кинематическая структура вертикально-фрезерного станка с числовым программным управлением.
66. Промышленные роботы: назначение, поколения (типы), область использования, типовая структура робота.
67. Промышленные роботы 1-го типа (роботы-манипуляторы), работающие совместно с металлорежущими станками, оснащенными системами числового программного управления.
68. Робототехнический комплекс, гибкий производственный модуль, гибкая производственная система. Примеры.
69. Электроэрозионная обработка: сущность процесса обработки, область использования, примеры схем обработки.
70. Кинематическая структура электроэрозионного станка для обработки сложнопроильных поверхностей перематываемой проволокой.
71. Схемы комбинированной обработки: электроэрозионное шлифование, алмазное электрохимическое сверление.
72. Анодно-механическая обработка: сущность процесса обработки и область использования.
73. Лазерная обработки: область использования, виды обработки, общая блок-схема оборудования.
74. Лазерный раскрой материала: область использования, раскраиваемые материалы, схема оборудования для раскроя.
75. Раскрой материала жидкостью: сущность процесса, раскраиваемые материалы.
§
Суммарный рейтинг студента по дисциплине “Технологическое оборудование” определяется суммой баллов, полученных в течение семестра. Общая сумма баллов – 1000. Суммарный рейтинг складывается из следующих показателей:
1.Оценка активности студента на занятиях и своевременности выполнения им графика учебного процесса. Общее количество баллов – 100, в том числе:
– за 100 %-ное посещение лекций в течении семестра – 25 баллов;
– за 100%-ное посещение лабораторных работ в течении семестра – 25 баллов;
– за своевременную сдачу отчетов и защиту лабораторных работ и заданий по управляемой самостоятельной работе в соответствии с графиком учебного процесса – 50 баллов.
2.Рубежный контроль успешности усвоения теоретического материала лекционного курса. Согласовано с семестровым графиком проведения аттестации проводятся две контрольные работы по теоретическим разделам дисциплины. Результаты каждой контрольной работы оцениваются следующим образом:
— оценка отлично – 150 баллов;
— оценка хорошо – 100 баллов;
— оценка удовлетворительно – 80 баллов.
3.Оценка активности студента в научном, творческом освоении специальности. Максимальная сумма баллов по этому разделу – 750, в том числе:
— за составление реферата в соответствии с предложенным перечнем тем оценивается в 100 баллов за каждый реферат;
— за участие в университетских и/или факультетских конференциях с сообщениями и докладами – 100 баллов;
— за публикацию результатов научных исследований – 150 баллов;
— за подачу заявки на изобретение – 200 баллов;
— за представление научной работы на республиканский конкурс – 200 баллов.
Минимальное общее количество баллов, необходимое для допуска к экзамену – 180 баллов.
При сумме баллов более 800 студенту может быть поставлена оценка “отлично” без сдачи экзамена.
СЛОВАРЬ СПЕЦИФИЧЕСКИХ ТЕРМИНОВ
Все многообразие технических терминов и определений, используемых в теории и практике станковедения, можно разделить на две группы:
— общетехнические термины и определения, используемые в различных общеинженерных и специальных дисциплинах специальностей машиностроительного профиля;
— специфические термины и определения, характерные только для теории и практики станковедения.
В данном словаре приводятся только специфические термины и их определения, используемые в станковедении.
Станочное оборудование – развивающееся многообразие металлорежущих станков.
Металлорежущий станок (станок) – технологическая машина для формообразующей обработки заготовок преимущественно резанием. С точки зрения теории технических систем это объединение трех подсистем: кинематической структуры, выражаемой структурной или кинематической схемой, подсистемы управления и компоновки (несущей подсистемы).
Геометрическая поверхность представляет собой след оставляемый линией, называемой образующей, при ее движении по другой линии, называемой направляющей. Обе эти линии называют производящими.
Формообразующее (рабочее) движение это согласованные относительные движения инструмента и заготовки, непрерывно создающие производящие линии при обработке. В зависимости от формы производящей линии и метода ее образования движения формообразования могут быть простыми и сложными.
Врезание – движение инструмента или заготовки, устанавливающее их в процессе резания в исходное для формообразования положение.
Деление – движение, перемещающее траекторию движения формообразования на определенную величину для воспроизведения нескольких одинаковых по форме поверхностей.
Позиционирование – движение, обеспечивающее перемещение траекторий движений формообразования и/или врезания в новое геометрическое положение.
Кинематическая группа – объединение источника (источников) энергии движения, исполнительных кинематических пар, внутренней и внешней связей.
Внутренняя связь, это совокупность кинематических звеньев и их соединений, обеспечивающих качественную характеристику движения, т.е. его траекторию.
Станочное зацепление – кинематическая цепь, соединяющая два исполнительных органа, имитирующая зацепление кинематической передачи, например, пары зубчатых колес, червячной передачи и т.п.
Внешняя связь, представляет собой совокупность кинематических звеньев и их соединений, обеспечивающих количественные характеристики движения, т.е. его скорость, путь и исходную точку.
Звено соединения связей – кинематическое звено, входящее одновременно во внутреннюю и внешнюю связи.
Структурная схема – объединение кинематических групп в общую кинематическую структуру станка.
Тяговый вал – механизм, преобразующий вращательное движение в поступательное.
Кинематический параметр тягового вала – величина перемещения ведомого звена за один оборот его ведущего звена.
Орган настройки – специальное устройство для изменения и регулирования параметров движения в станках: траектории, скорости, направления, пути, и исходной точки.
Кинематическая настройка – это настройка кинематических (структурных) цепей станка для обеспечения требуемых скоростей движений исполнительных органов, а также, при необходимости, условий кинематического согласования перемещений или скоростей исполнительных органов между собой. Кинематическая настройка является составной частью наладки любого станка.
Кинематическая схема — это условное изображение объединения кинематических цепей или кинематических групп станка в одной плоскости.
Расчетная кинематическая цепь – ряд последовательно расположенных передач, включая орган настройки, связывающий исполнительные звенья или между собой, или с источником энергии движения.
Расчетные перемещения – исходное перемещение ведущего звена кинематической расчетной цепи в совокупности с результативным перемещением ведомого звена этой же цепи.
Уравнение кинематической цепи – математическая зависимость между перемещениями исполнительных звеньев расчетной кинематической цепи, записываемое на основе расчетных перемещений.
Формула настройки – решение уравнения кинематической цепи относительно неизвестного передаточного отношения органа настройки, расположенного в этой цепи.
Гитара сменных зубчатых колес – открытыйзубчатый механизм для ступенчатого изменения передаточного отношения расчетной кинематической цепи.
Вариатор – механизм, обеспечивающий бесступенчатое изменение передаточного отношения.
Формула Виллиса – математическая модель кинематических связей в планетарном дифференциале, используемая для определения передаточных отношений в планетарных дифференциалах при анализе кинематической структуры металлорежущих станков.
Множительная структура привода – кинематическая цепь с последовательным соединением групп передач.
Сложенный привод – совокупность двух, реже трех кинематических цепей, каждая из которых является множительной структурой.
Составное колесо – основное колесо специального реверсивного механизма, составленное из двух концентрических секторов внутреннего и наружного зацепления, соединенных между собой зубчатыми секторами внутреннего зацепления.
Плосковершинное (или плоское) зубчатое колесо – виртуальный режущий инструмент для профилирования конических зубчатых колес, у которого число зубьев зависит от числа зубьев обрабатываемого колеса.
Полуобкатная передача – спирально-коническая или гипоидная передача, у которой профиль зубьев колеса выполнен копированием, а профиль шестерни – обкатом.
Многооперационный станок (обрабатывющий центр) – это станок с числовым программным управлением, обеспечивающий выполнение многих технологических операций на сложных деталях с разных сторон без их перебазирования и, как правило, с автоматической сменой инструмента.
Промышленный робот – автономно работающая машина – автомат, предназначенная для воспроизведения некоторых двигательных и умственных функций человека при выполнении вспомогательных и основных производственных операций без непосредственного участия человека и наделенная для этого некоторыми его способностями (слухом, зрением, осязанием, памятью и т. п.), а также способностью к самообучению и адаптации к внешней среде.
Робот-манипулятор – это промышленный робот, встроенный в основное технологтческое оборудование, например, в многооперационный станок.
ЛИТЕРАТУРА
§
Дополнительная
Основная
1. Металлорежущие станки: Учебник для машиностроительных втузов/ Под ред. В.Э. Пуша. – М.: Машиностроение, 1985.
2. Ящерицин П.И., Ефремов В.Д. Металлорежущие станки: Учебник/ Под ред. А.И. Кочергина. – Мн.: БГАТУ, 2001.
3. Металлорежущие станки и автоматы: Учебник / Под ред. А.С. Проникова. – М.: Машиностроение, 1981.
4. Локтева С.Е. Станки с числовым программным управлением: Учебное пособие. — М.: Машиностроение, 1979.
5. Трофимов А.М. Металлорежущие станки: Альбом с приложением, 2 изд. – М.: Машиностроение, 1979.
6. Металлорежущие станки: Учебник / Под ред. В.К. Тепинкичиева. – М.: Машиностроение, 1973.
7. Ермаков Ю.М., Фролов Б.А. Металлорежущие станки: Учебник. — М.: 1985.
8. Голембиевский А.И. Основы системологии способов формообразующей обработки в машиностроении. – Мн.: Наука и техника, 1986.
9. Голембиевский А.И. Станочное оборудование: учеб.-метод.комплекс для студ. спец. 1-36 01 01, 1-36 01 03. — Новополоцк: ПГУ, 2006.
10. Голембиевский А.И. Методические указания к курсовым работам по теме “Анализ и синтез кинематической структуры станков” курса “Металлорежущие станки” для студентов специальности 0501. – Новополоцк: изд. НПИ, 1978.
11. Данилов В.А. Методические указания к лабораторным работам по курсу “Металлорежущие станки” для студентов специальности 0501. — Новополоцк: изд. НПИ, 1977.
12. Терентьев В.А. Методические указания к учебно-исследовательской работе “Гидрокопировальный станок модели 1722 и исследование точности копировальной обработки для студентов специальности 0501. –Новополоцк: изд. НПИ, 1984.
13. Голембиевский А.И., Данилов В.А., Трофимов А.И. Методические указания к лабораторным работам по курсам “Металлорежущие станки и промышленные роботы” и “Промышленное оборудование автоматизированных производств” для студентов специальности 0501. Новополоцк: изд. НПИ, 1986.
14. Терентьев В.А. Методические указания к учебно-исследовательской работе “Роботизированный технологический комплекс на базе станка модели 2К135Ф2 и ПР РФ-202М по курсам “Станочное оборудование автоматизированных производств” и “Металлорежущие станки и промышленные роботы” для студентов специальностей 1201,1202. – Новополоцк: изд. НПИ, 1989.
15. Голембиевский А.И. Методические указания к учебно-исследовательской лабораторной работе “Промышленный робот “Универсал -5” по курсам “Металлорежущие станки и промышленные роботы” и “Промышленное оборудование автоматизированных производств” для студентов специальности 0501. – Новополоцк: изд. НПИ, 1987.
16. Голембиевский А.И. Методические указания к учебно-исследовательской лабораторной работе “Промышленный робот “Циклон -5” по курсам “Станочное оборудование автоматизированных производств” и “Металлорежущие станки и промышленные роботы” для студентов специальности 0501. – Новополоцк: изд. НПИ, 1987.
17. Трофимов А.И. Методические указания к лабораторной работе “Изучение конструкции и кинематики токарных станков” по курсу “Станочное оборудование автоматизированного производства” для студентов специальностей 1201 и 1202. – Новополоцк: изд. НПИ, 1992.
18. Данилов В.А. Методические указания к лабораторной работе “Расчет кинематической настройки металлорежущих станков” по курсу “Станочное оборудование автоматизированного производства” для студентов специальностей 1201 и 1202. – Новополоцк: изд. НПИ. 1992.
19. Лабораторный практикум по металлорежущим станкам/ Под редакцией А.И. Кочергина. – Мн.: Вышэйшая школа, 1986.
20. Руководство к лабораторным работам по курсу “Металлорежущие станки“/ Под общ. редакцией П.Г. Петрухи. – М.: Высшая школа, 1973.
Станки дома 


